Product Summary
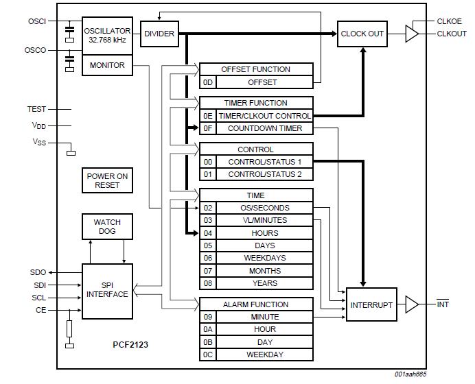
The PCF2123TS is a CMOS real time clock and calendar optimized for low power applications. Data is transferred serially via a Serial Peripheral Interface bus (SPI-bus) with a maximum data rate of 6.25 Mbit/s. An alarm and timer function is also available providing the possibility to generate a wake-up signal on an interrupt pin. An offset register allows fine tuning of the clock. The applications of the PCF2123TS include time keeping application, battery powered devices, metering, high duration timers, daily alarms, low standby power applications.
Parametrics
PCF2123TS absolute maximum ratings: (1)supply voltage, VDD: -0.5 to +6.5 V; (2)supply current, IDD: -50 to +50 mA; (3)input voltage, VI: -0.5 to +6.5 V; (4)output voltage, VO: -0.5 to +6.5 V; (5)input current, II: -10 to +10 mA; (6)output current, IO: -10 to +10 mA; (7)total power dissipation, Ptot: 300 mW; (8)ambient temperature, Tamb: -40 to +85℃; (9)electrostatic discharge voltage, HBM, Vesd: ±3000 V; MM: ±300 V; (10)latch-up current, Ilu: 200 mA; (11)storage temperature, Tstg: -65 to +150℃.
Features
PCF2123TS features: (1)Real time clock provides year, month, day, weekday, hours, minutes and seconds based on a 32.768 kHz quartz crystal; (2)Low backup current while running: typical 100 nA at VDD = 2.0 V and Tamb = 25 ℃; (3)Resolution: seconds to years; (4)Watchdog functionality; (5)Freely programmable timer and alarm with interrupt capability; (6)Clock operating voltage: 1.1 V to 5.5 V; (7)3 line SPI-bus with separate combinable data input and output; (8)Serial interface at VDD = 1.6 V to 5.5 V; (9)1 second or 1 minute interrupt output; (10)Integrated oscillator load capacitors for CL = 7 pF; (11)Internal power-on reset; (12)Open-drain interrupt and clock output pins; (13)Programmable offset register for frequency adjustment.
Diagrams

| Image | Part No | Mfg | Description | ![]() |
Pricing (USD) |
Quantity | ||||||||||||
|---|---|---|---|---|---|---|---|---|---|---|---|---|---|---|---|---|---|---|
![]() |
![]() PCF2123TS/1 |
![]() NXP Semiconductors |
![]() Real Time Clock ultra-low power RTC |
![]() Data Sheet |
![]() Negotiable |
|
||||||||||||
![]() |
![]() PCF2123TS/1,112 |
![]() NXP Semiconductors |
![]() Real Time Clock ultra-low power RTC |
![]() Data Sheet |
![]()
|
|
||||||||||||
![]() |
![]() PCF2123TS/1,118 |
![]() NXP Semiconductors |
![]() Real Time Clock ultra-low power RTC |
![]() Data Sheet |
![]()
|
|
||||||||||||
(China (Mainland))









